В Ford нашли решение насущной проблемы больших внедорожников

Автопроизводитель подал две любопытные патентные заявки, одна из которых призвана упростить погрузку в огромные багажники

Отметим, что автомобильщики регулярно патентуют различные решения, многие из которых едва ли воплотятся в реальной жизни. Вместе с тем, получение патента гарантирует производителю, что технология будет закреплена именно за ним. По всей видимости, именно этим принципом руководствовались в Ford, инженеры которого предложили сразу две свежих идеи.

Например, одна из них может облегчить жизнь владельцам больших внедорожников. В Ford обращают внимание, что из-за внушительных размеров загрузка багажника в таких авто дело непростое. Поэтому компания предлагает устанавливать в багажники внедорожников конвейеры.

Как следует из описания патента, погрузочную ленту можно интегрировать в спинки третьего ряда кресел, которая будет раскладываться при условии сложенных сидений. Конвейер будет работать от электропривода и, как предполагается, позволит без особых усилий загружать вещи.

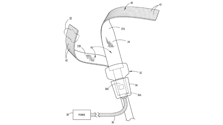
Кроме этого, Ford задумались об оснащении автомобилей ремнями безопасности с подогревом. Электрические нагревательные элементы предлагается вшить в лямки ремня безопасности, а подключать питание к ремню только после защелкивания в замке. То есть, водитель пристегивает ремень, и он нагревается.

Напомним, что ранее Ford придумал способ, как избавить автомобили от «противного запаха новой машины». Главным образом проблема актуальна для Китая, где неприятный запах в салоне чуть ли не одна из главных причин, по которой китайцы отказываются от покупки автомобиля. Источниками характерного запаха в салоне обычно выступают летучие органические соединения, выделяемые кожей, пластиком или винилом.


Комментарии

Добавить комментарий

Ваш адрес email не будет опубликован. Обязательные поля помечены *